
Metric Banjo Fitting
70011
METRIC BANJO DIN 7642


| PART NO. | BOLT | HOSE BORE | DIMENSIONS | |||
| DN | DASH | d | D | H | ||
| 70011-12-04 | M12X1.5 | 6 | 4 | 12 | 20 | 12 |
| 70011-12-05 | M12X1.5 | 8 | 5 | 12 | 20 | 12 |
| 70011-12-06 | M12X1.5 | 10 | 6 | 12 | 20 | 12 |
| 70011-14-04 | M14X1.5 | 6 | 4 | 14 | 24 | 14 |
| 70011-14-05 | M14X1.5 | 8 | 5 | 14 | 24 | 14 |
| 70011-14-06 | M14X1.5 | 10 | 6 | 14 | 24 | 14 |
| 70011-16-06 | M16X1.5 | 10 | 6 | 16 | 28 | 16 |
| 70011-18-06 | M18X1.5 | 10 | 6 | 18 | 32 | 20 |
| 70011-18-08 | M18X1.5 | 12 | 8 | 18 | 32 | 20 |
| 70011-22-08 | M22X1.5 | 12 | 8 | 22 | 39 | 25 |
| 70011-22-10 | M22X1.5 | 16 | 10 | 22 | 39 | 25 |
| 70011-26-12 | M26X1.5 | 20 | 12 | 26 | 46 | 30 |
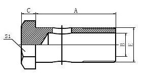
700M
MATRIC BOLT DIN 7643


| PART NO | THREAD E | DIMENSIONS | |||
| A | B | C | S | ||
| 700M-10 | M10X1 | 19 | 5.5 | 6 | 14 |
| 700M-12 | M12X1.5 | 24 | 7 | 6 | 17 |
| 700M-14 | M14X1.5 | 26 | 9 | 6 | 19 |
| 700M-16 | M16X1.5 | 28 | 11 | 6 | 22 |
| 700M-18 | M18X1.5 | 32 | 13 | 6 | 24 |
| 700M-22 | M22X1.5 | 39 | 16 | 7 | 27 |
| 700M-26 | M26X1.5 | 45 | 20 | 7 | 32 |
| 700M-30 | M30X1.5 | 51 | 24 | 7 | 36 |

